PA捕鱼官方网站

SD6500

Operating Voltage

2.4~3.6V

2.4~3.6V

ADC Sampling Rate

512kHz

512kHz

ADC ENOB

19.3bits@8sps
Gain = 128

19.3bits@8sps
Gain = 128

Peripherals

DAC

DAC

Package

MSOP10

MSOP10
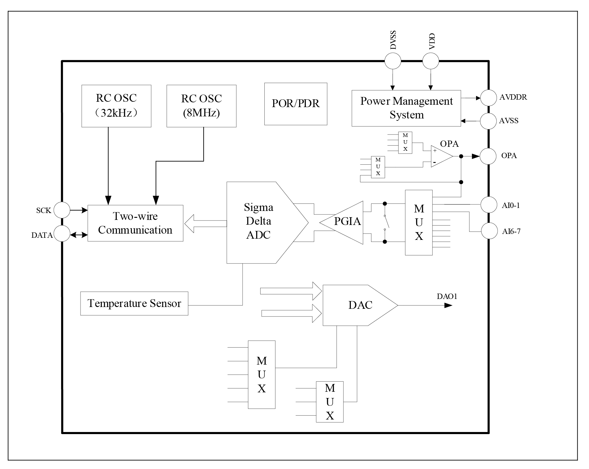
IC Introduction

        The SD6500 has built-in 24 bits ADC and two-wire communication circuits.
        A host computer can read and edit all the registers in the IC through the two-wire communication circuit.
        The IC supports the timed measurement comparison mode. After entering this mode, the IC will turn on the host after successful data comparison. The host can also independently turn on the IC.
        The IC has built-in temperature sensor, and 8 bits DAC to meet the requirements of various applications.

IC Features
  • High precision ADC, 19.3bits ENOB at 8sps. It can be set to 2 differential or 4 single-ended inputs

  • Low noise, high input impedance preamplifier with selectable gain options:1, 4, 8, 16, 32, 64, 128, or 256

  • Internal 8MHz and 32kHz RC oscillator

  • Two-wire communication interface, maximum speed at 1.1MHz

  • Built-in 8 bits DAC, supports one output

  • Built-in temperature sensor, support single point calibration

  • Hardware timing comparison measurement function

  • Built-in sensor excitation output, output voltage options: 2.4V, 2.7V, 3.0V and 3.3V

  • Low voltage detection and power on reset circuit

  • Operating voltage range: 2.4~3.6V

  • Operating temperature range: -40~85℃

IC Block Diagram
Application area

Four Electrodes AC Health Scale

Blood Glucose Meter

Cash Register Scale

Related Products Recommendation

Product Series

Sample Requests
and Purchase

Product
Directory

Please fill in a real and valid email address!