PA捕鱼官方网站

SD4102

Operating Voltage

2.4~3.6V

2.4~3.6V

Operating Current

500μA

500μA

OTP

4k Bytes

4k Bytes

SRAM

256 Bytes

256 Bytes

ADC ENOB

20.6bits@250sps
Gain = 1

20.6bits@250sps
Gain = 1
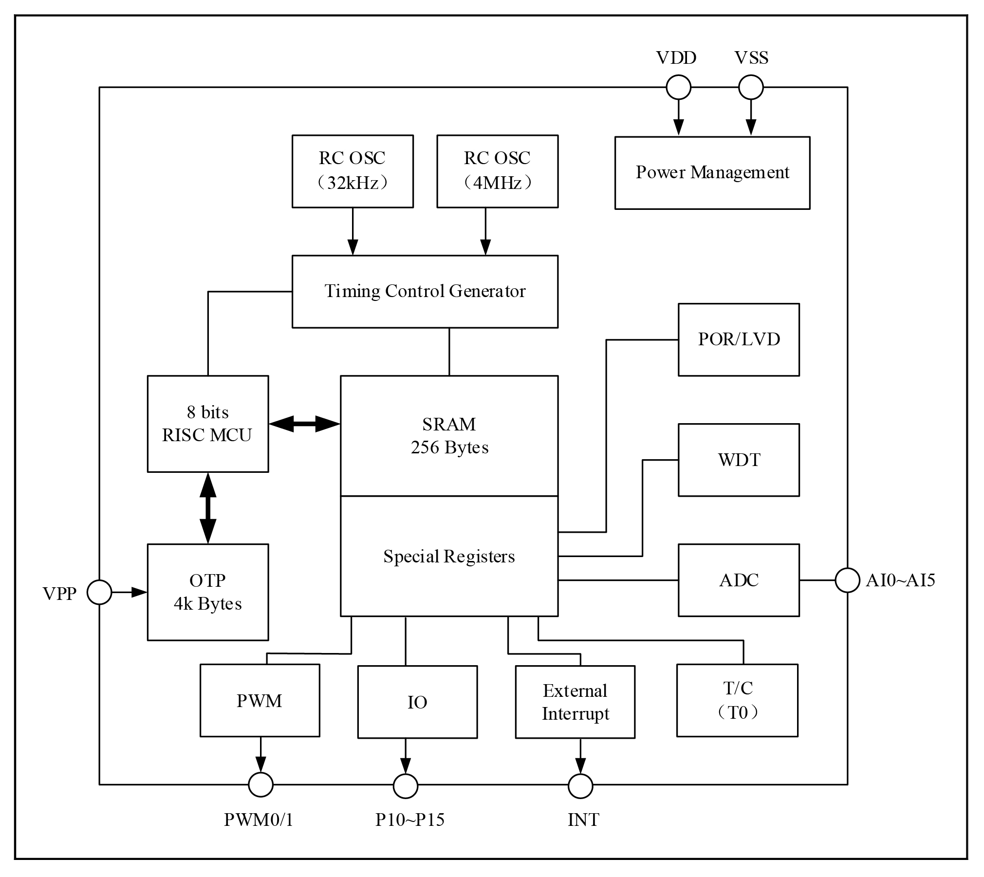
IC Introduction

        The SD4102 is a CMOS SoC with built-in 24 bits ADC and 4k Bytes OTP memory. The IC was designed with ultra-low power technology. When operating at 3V supply, originating from 2MHz internal RC oscillator, the expected total operating current is 500μA. Such low current consumption is suitable for battery powered signal measurement applications.
        Three working modes are provided to allow users to select the optimum choice between speed and power. The modes are normal, standby, and sleep mode.

IC Features
  • High precision ADC, 20.6bits ENOB at 250sps. It can be set to 2 differential or 4 single-ended inputs (to VSS).

  • 8-bit RISC low power MCU, 49 instructions and 6 stack levels. The typical MCU current consumption is: 300μA at 3V and 2MHz operating clock rate, 2μA at standby and 32kHz clock rate, and 1μA at sleep

  • 1μA at sleep

  • 4k Bytes OTP, 256 Bytes SRAM

  • Internal RC oscillator. No external clock source is needed

  • 2 channel 8bits PWM output

  • Schmitt trigger input, pull up resistor selectable

  • Watchdog Timer

  • Power failure detection and power on reset circuit

  • Operating voltage range: 2.4~3.6V

  • Operating temperature range: -40~85℃

IC Block Diagram
Related Products Recommendation

Product Series

Sample Requests
and Purchase

Product
Directory

Please fill in a real and valid email address!